※ Product name:Fluorine lined diaphragm valve
※ Product model:G41F46-16C
※ Product specification:DN15-250
※ Shell material: carbon steel、304、316L
※ Lining material:FEP(F46)、PFA
First, Overview
The product uses a special process in the valve body lining PFA/FEP, diaphragm parts using PFA/FEP and EPDM, so that each part of the valve cavity to achieve the same corrosion performance. The product has good throttling characteristics, corrosion resistance and granular media, reliable sealing performance, can be widely used in a variety of corrosive fluids and fibrous, powdered media.
Second, product characteristics
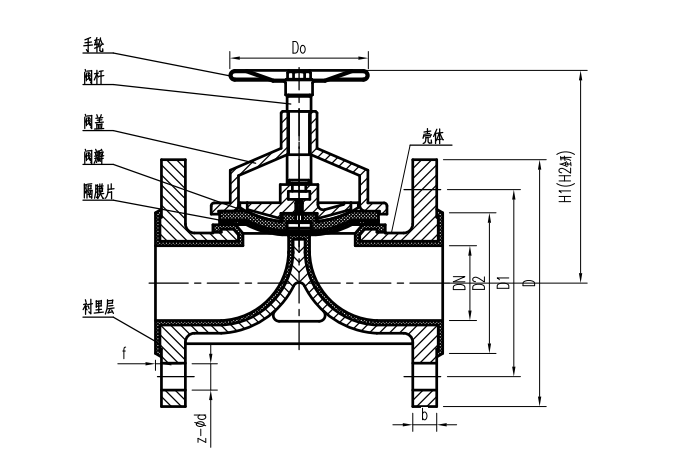
The diaphragm separates the lower valve body cavity from the upper valve cover cavity, so that the stem, disc and other parts located above the diaphragm are not corroded by the medium.
Features: Diaphragm the lower valve body cavity and upper valve cover cavity separated, so that located above the diaphragm stem, valve disc and other parts are not corroded by the medium, omit the packing seal structure, and will not produce media leakage.
Design standard | HG/T3704,GB/T 12239 | MSS-SF-88 | |||
Structural length | HG/T 3704,GB/T 12221 | EN 558-1 | |||
Flange size | HG/T 20592,GB/T 9119. | ASME B16.5,JIS B2220 | |||
Inspection and test | GB/T 13927,JB/T 9092 | API598 | |||
Nominal pressure(MPa) | 0.6 | 1.0 | 1.6 | 150LB | |
Experimental pressure | Shell pressure test | 0.9 | 1.5 | 1.5 | 1.5 |
High pressure seal | 0.66 | 1.1 | 1.1 | 1.1 | |
Low pressure seal | 0.6 | 0.6 | 0.6 | 0.6 | |
Applicable temperature(°C) | PFA:-30~200 FEP:-30~150 GXPO:-10~80 | ||||
Applicable medium | Hydrochloric acid, nitric acid, hydrofluoric acid, liquid chlorine, sulfuric acid, aqua regia and other strong corrosive media | ||||
Basic model | |||
manual | G41F4(Weir type) | pneumatic | G641G4 (reciprocating) |
G41F46(Weir type) | G641F46 (reciprocating) | ||
G45F4 (Straight flow ) | G6B45F4 (Normally closed) | ||
electric | G45F46 (Straight flow) | electric | G6B45F46(Normally closed) |
G9B41F4(Explosion-proof type) | G945F4(Ordinary form) | ||
G9B41F46(Explosion-proof type) | G945F46(Ordinary form) | ||
Part name | Investment cast ductile iron | Carbon steel | Stainless steel | |||
QT | C | P | R | PL | RL | |
Body, cover, disc | QT400 | WCB | CF8 | CF8M | CF3 | CF3M |
Valve stem | 2Cr13 | 2Cr13 | CF8 | CF8M | CF3 | CF3M |
Lining layer | FEP(F46)、PTFE(F4)、PFA(soluble polytetrafluoroethylene), PO(polyolefin), PE(ultra-high molecular weight polyethylene) | |||||
diaphragm | ZcuA110Fe3 | |||||
Stem nut | FEP(F46)、CR (Neoprene rubber), PFA(soluble polytetrafluoroethylene), FPDM(ethylene propylene rubber) | |||||
bolt | 35 | 35 | 1Cr17Ni2 | 1Cr17Ni2 | 1Cr18Ni9 | 1Cr18Ni9 |
nut | 45 | 45 | 0Cr18Ni9 | 0Cr18Ni9 | 0Cr18Ni9 | 0Cr18Ni9 |
Hand wheel | A3 | |||||




公称直径 | 标准值 | 参考值 | ||||||||||
DN | NPS | L | D | D1 | D2 | f | b | N-Фd | Do | H1 | H2 | W(kg) |
PN 0.6 (MPa) | ||||||||||||
15 | 1/2 | 125/108 | 80 | 55 | 40 | 2 | 12 | 4-Ф12 | 100 | 105 | 110 | 3.5 |
20 | 3/4 | 135/117 | 90 | 65 | 50 | 2 | 14 | 4-Ф12 | 100 | 115 | 125 | 4 |
25 | 1 | 145/127 | 100 | 75 | 60 | 2 | 14 | 4-Ф12 | 120 | 120 | 135 | 5.5 |
32 | 11/4 | 160/146 | 120 | 90 | 70 | 2 | 16 | 4-Ф14 | 120 | 125 | 150 | 8 |
40 | 11/2 | 180/159 | 130 | 100 | 80 | 3 | 16 | 4-Ф14 | 140 | 135 | 175 | 11 |
50 | 2 | 210/190 | 140 | 110 | 90 | 3 | 16 | 4-Ф14 | 140 | 155 | 195 | 14 |
65 | 21/2 | 250/216 | 160 | 130 | 110 | 3 | 16 | 4-Ф14 | 200 | 170 | 200 | 23 |
80 | 3 | 300/254 | 185 | 150 | 125 | 3 | 18 | 4-Ф18 | 200 | 200 | 255 | 29 |
100 | 4 | 350/305 | 205 | 170 | 145 | 3 | 18 | 4-Ф18 | 280 | 270 | 325 | 46 |
125 | 5 | 400/356 | 235 | 200 | 175 | 3 | 20 | 8-Ф18 | 320 | 335 | 405 | 70 |
150 | 6 | 460/406 | 260 | 225 | 200 | 3 | 20 | 8-Ф18 | 320 | 370 | 450 | 95 |
200 | 8 | 570/521 | 315 | 280 | 255 | 3 | 22 | 8-Ф18 | 400 | 480 | 600 | 170 |
250 | 10 | 680/635 | 370 | 335 | 310 | 3 | 24 | 12-Ф18 | 500 | 545 | 620 | 270 |
300 | 12 | 790/749 | 435 | 395 | 362 | 4 | 24 | 12-Ф23 | 500 | 585 | 680 | 320 |
公称直径 | 标准值 | 参考值 | ||||||||||
DN | NPS | L | D | D1 | D2 | f | b | N-Фd | Do | H1 | H2 | W(kg) |
PN 1.0 (MPa) | ||||||||||||
15 | 1/2 | 125/108 | 95 | 65 | 45 | 2 | 14 | 4-Ф14 | 100 | 105 | 110 | 3.5 |
20 | 3/4 | 135/117 | 105 | 75 | 55 | 2 | 16 | 4-Ф14 | 100 | 115 | 125 | 4 |
25 | 1 | 145/127 | 115 | 85 | 65 | 2 | 16 | 4-Ф14 | 120 | 120 | 135 | 5.5 |
32 | 11/4 | 160/146 | 135 | 100 | 78 | 2 | 18 | 4-Ф18 | 120 | 125 | 150 | 8 |
40 | 11/2 | 180/159 | 145 | 110 | 85 | 3 | 18 | 4-Ф18 | 140 | 135 | 175 | 11 |
50 | 2 | 210/190 | 160 | 125 | 100 | 3 | 20 | 4-Ф18 | 140 | 155 | 195 | 14 |
65 | 21/2 | 250/216 | 180 | 145 | 120 | 3 | 20 | 8-Ф18 | 200 | 170 | 200 | 23 |
80 | 3 | 300/254 | 195 | 160 | 135 | 3 | 22 | 8-Ф18 | 200 | 200 | 255 | 29 |
100 | 4 | 350/305 | 215 | 180 | 155 | 3 | 22 | 8-Ф18 | 280 | 270 | 325 | 46 |
125 | 5 | 400/356 | 245 | 210 | 185 | 3 | 24 | 8-Ф18 | 320 | 335 | 405 | 70 |
150 | 6 | 460/406 | 280 | 240 | 210 | 3 | 24 | 8-Ф23 | 320 | 370 | 450 | 95 |
200 | 8 | 570/521 | 335 | 295 | 265 | 3 | 26 | 8-Ф23 | 400 | 480 | 600 | 170 |
250 | 10 | 680/635 | 390 | 350 | 320 | 3 | 28 | 12-Ф23 | 500 | 545 | 620 | 270 |
300 | 12 | 790/749 | 440 | 400 | 368 | 4 | 28 | 12-Ф23 | 500 | 585 | 680 | 320 |
Nominal diameter | Standard value | Reference value | ||||||||||
DN | NPS | L | D | D1 | D2 | f | b | N-Фd | Do | H1 | H2 | W(kg) |
PN 1.6 (MPa) | ||||||||||||
15 | 1/2 | 130 | 95 | 65 | 45 | 2 | 14 | 4-Ф14 | 120 | 115 | 115 | 4 |
20 | 3/4 | 150 | 105 | 75 | 55 | 2 | 16 | 4-Ф14 | 120 | 130 | 130 | 5 |
25 | 1 | 160 | 115 | 85 | 65 | 2 | 16 | 4-Ф14 | 140 | 140 | 140 | 6 |
32 | 11/4 | 180 | 135 | 100 | 78 | 2 | 18 | 4-Ф18 | 140 | 155 | 155 | 9 |
40 | 11/2 | 200 | 145 | 110 | 85 | 3 | 18 | 4-Ф18 | 160 | 180 | 180 | 12 |
50 | 2 | 230 | 160 | 125 | 100 | 3 | 20 | 4-Ф18 | 160 | 200 | 200 | 15 |
65 | 21/2 | 290 | 180 | 145 | 120 | 3 | 20 | 8-Ф18 | 200 | 205 | 205 | 24 |
80 | 3 | 310 | 195 | 160 | 135 | 3 | 22 | 8-Ф18 | 200 | 260 | 260 | 30 |
100 | 4 | 350 | 215 | 180 | 155 | 3 | 24 | 8-Ф18 | 280 | 330 | 330 | 48 |
125 | 5 | 400 | 245 | 210 | 185 | 3 | 26 | 8-Ф18 | 320 | 410 | 410 | 75 |
150 | 6 | 480 | 280 | 240 | 210 | 3 | 28 | 8-Ф23 | 320 | 460 | 460 | 105 |
200 | 8 | 600 | 335 | 295 | 265 | 3 | 30 | 12-Ф23 | 400 | 605 | 605 | 182 |
250 | 10 | 730 | 405 | 355 | 320 | 3 | 32 | 12-Ф25 | 500 | 625 | 625 | 295 |
300 | 12 | 850 | 460 | 410 | 375 | 4 | 34 | 12-Ф25 | 500 | 685 | 685 | 345 |